歡迎來深圳市立維創展科技有限公司官方網站!
行業資訊
88E2010-A1-BUS4I000以太網 IC Marvell
發布時間:2023-07-10 17:01:11 瀏覽:3538
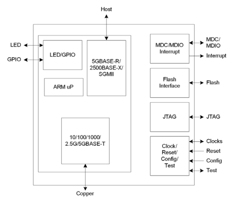
Marvell?Alaska?M88E2010/88E2040L是個滿足IEEE802.3bz標準化的1接口(88E2010)或4接口(88E2040L)物理層(PHY)設備系列。88E2010-A1-BUS4I000提供多種服務器側接口,包含5GBASE-R、2500BASE-X和SGMII,以支持和低速度傳統式以太網速率的充分向后兼容性,包含:1Gbps、100Mbps和10Mbps。
88E2010-A1-BUS4I000的靈活性使所有的結構化布線電纜長度都能做到極低功率,以此來實現密集的5Gbps技術應用。88E2010-A1-BUS4I000兼容6類(屏蔽或非屏蔽)、6A類(增強型)、7類電纜線和5e類電纜線,間距相當于100米。

特征
?1或4接口,5速PHY。在UTP銅線上以10M、100M、1G、2.5G或5G數據速率工作。
?滿足IEEE802.3bz規范,應用于2.5G和5G模式
?所有的設備上5GBASE-R、2500BASE-X和SGMII系統側接口
?允許密集的多終端2.5G/5G技術應用
?誤碼率高于1E-15
?應用于2.5G和5G模式的CAT5e超過100米
?第45條MDC/MDIO管理接口
?應用于88E2010單接口技術應用的中小型10mm×12mmHFCBGA封裝;適用于88E2040L四接口應用的23mm×23mmHFCBGA封裝
?有商業級和工業級可選擇
Marvell在數據傳輸、網絡、存儲解決方案方面,始終保持前沿。深圳市立維創展科技有限公司擁有優勢Marvell分銷資源,期待與各同行客戶合作。
詳情了解Marvell請點擊:http://m.dgqunlong.com/brand/83.html
推薦資訊
TI德州儀器?TPSM33625是款1.5A或2.5A、36V輸入同步DC/DC降壓電源模塊,在緊湊型且容易應用的3.5mm×4.5mm×2mm、11管腳QFN封裝中集合了FlipChipOnLead(FCOL)封裝、功率MOSFET、集成化電感器和啟動電容器。
MICRON?使用經過嚴苛測試的高質量DRAM組件,加速產品發售速度,適用于各種各樣技術應用。從工業汽車車技術應用的極端溫度和性能需求到企業系統的嚴苛規范,MICRON為您的設計提供合適的運行內存解決方案。
在線留言