歡迎來深圳市立維創展科技有限公司官方網站!
行業資訊
BQ79616 16節串聯電池監測器TI
發布時間:2024-09-05 09:33:52 瀏覽:1945
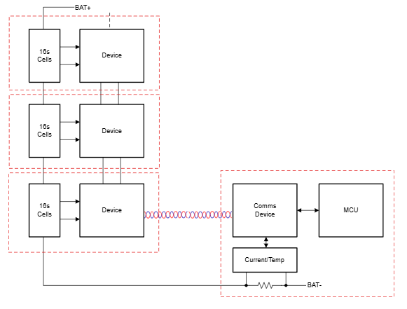
BQ79616 是TI推出的一款16節串聯電池監測器,專為高壓電池管理系統設計,適用于混合動力和電動汽車(HEV/EV)的動力總成系統。該器件集成了高精度的電池電壓測量、電池均衡和硬件保護功能,能夠提供精確的電池狀態監控和管理。
該器件的密封設計支持多種通信選項,便于用戶計算電池狀態(SOC),并包括溫度差分自動調整和恢復能力,以避免潛在的異常條件。

特性
1. 高精度:BQ79616 提供 ±1.5 mV 的 ADC 精度,確保電池電壓測量的準確性。
2. 快速測量:能夠在 128 μs 內完成所有電池通道的高精度電壓測量。
3. 先進技術:集成后 ADC 可配置數字低通濾波器和紅外通信功能,增強了數據處理的靈活性和通信能力。
4. 電池均衡:支持內部或外部電池均衡,最大可處理 240mA 的均衡電流,并具備自動??亢突謴涂刂乒δ堋?/p>
5. 隔離系統通信:采用環形架構,通過通信中繼器實現信息的有效傳輸。
6. 主機控制和通訊:支持 UART/SPI 主機接口,可與 TI 的 BQ79600 通信橋接器配合使用,內置 SPI 控制器。
應用
BQ79616 主要應用于電池管理系統(BMS),特別是在混合動力和電動動力總成系統中,以及帶有電池管理系統的儲能電池組。
封裝信息
- 型號:BQ79616
- 封裝:HTQFP(64 引腳)
- 尺寸:10.00mm x 10.00mm
上一篇: HFBM075100C高頻巴倫適配器iNRCORE
下一篇: Tillotson賽車化油器
推薦資訊
Q-PRV系列高壓DC/DC轉換器是一款高效、緊湊的電源解決方案,具有0.5W以上的輸出功率,輸出電壓范圍為100Vdc至500Vdc,支持12Vdc或24Vdc輸入電壓,具備短路保護、低紋波、無最小負載要求等特性。其主要特點包括比例型輸出、寬溫度工作范圍(-25℃至+70℃)、高隔離度(超過100MΩ)、小尺寸(0.5x0.5x0.5英寸)、優秀的負載穩定性以及RoHS認證,適用于PCB安裝和環保要求嚴格的應用場景。
DATEL公司生產的AS系列DC-DC轉換器,輸出功率最高20瓦,效率達84%,具備1500伏特DC隔離電壓和4:1寬輸入范圍,適用于分布式電源架構、移動通信等工業應用。產品特點包括標準尺寸、穩壓輸出、遠程開關控制和金屬屏蔽外殼,并提供定制輸出電壓和多項安全認證。
在線留言